引言
随着工业自动化的不断发展,变频驱动(VFD)螺杆式空压机凭借其节能高效、性能卓越且运行稳定的特点,已在制造业中得到广泛应用。然而,传统空压机变频调速系统仍面临诸多挑战,例如控制回路接线复杂、安装维护耗时费力、故障排查难度大等,这些问题直接影响了设备的可靠性与运行效率。
为满足市场需求,USFULL 自主研发了一款高性能变频器,通过优化系统集成度提升了设备可靠性,同时大幅简化了安装与维护流程。本文将以 USFULL 变频器在永磁同步空压机中的应用为案例,详细阐述其核心优势及实际运行效果。
USFULL 变频器应用于永磁同步空压机的优势
相较于传统异步电机变频调速(VSD)系统,USFULL 空压机专用变频器具备以下显著优势:
1. 直轴连接,传动效率更高
永磁同步电机(PMSM)与空压机主机采用嵌入式直轴连接结构,相较于传统的皮带传动或联轴器传动,可大幅减少机械损耗,实现 100% 的传动效率。
2. 电机免维护,运行成本更低
采用无轴承设计,彻底消除了电机轴承故障的风险,不仅降低了维护成本,还进一步提升了系统可靠性。
3. 体积小巧,拆装更便捷
该变频电机的体积仅为传统调速电机的 1/3,有效减少了设备占地面积,同时简化了安装与拆卸流程。
4. 低速高效,节能效果更优
即便在低速运行状态下,永磁同步电机仍能保持较高效率,相较于传统变频异步电机,节能率可提升 10%-30%。
5. 响应迅速,系统稳定性更强
同步电机响应速度快,能显著优化压力调节性能,缩短排气响应时间,进而提升空压机系统的整体运行效率。
USFULL 变频器在空压机中的实际应用
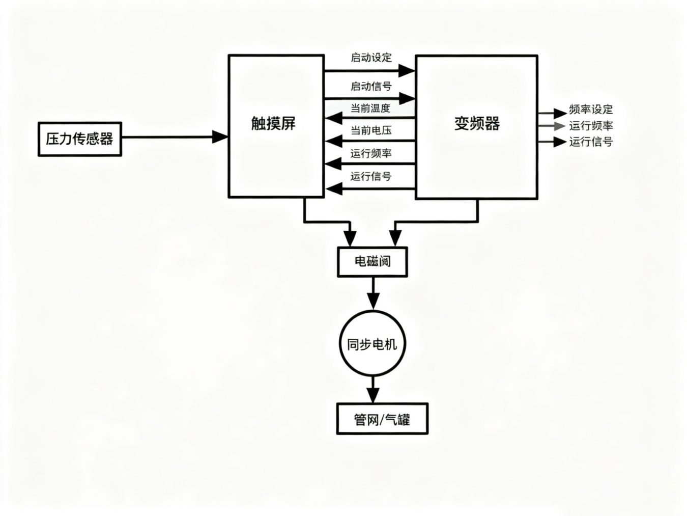
1. 空压机系统架构图
USFULL 变频器与空压机控制系统的应用架构如下:
核心设备:
- USFULL 变频驱动器(VFD)
- 永磁同步电机(PMSM)
- 6080M 空压机控制器
2. USFULL 变频器的电气接线
主回路接线:
- 变频器分别与电机和控制器连接,构成完整的控制系统
- S1 端子用于控制空压机的启停操作
- 变频器产生的故障信号会传输至控制器,必要时可触发紧急停机功能
3. 相序确认与试运行
相序检查:
- 风扇转向检查:若风扇转向错误,需调整风扇接线以确保转向正确
- 主电机相位确认:对主电机进行试运行,必要时调整变频器的输出接线
试运行操作:
- 启动 6080M 控制器,检查空压机在带载状态下是否运行平稳
- 实时监测变频器的输出电流、电压及温度,确保设备稳定运行
应用成果与结论
USFULL 变频器在永磁同步空压机中的成功应用,充分彰显了其在高效驱动技术与智能控制领域的卓越实力,具体成果如下:
- 安装便捷:简化的接线设计缩短了安装时间,提升了系统集成度
- 节能显著:低速高效的特性使其相较于传统异步电机,节能效果更优
- 运行稳定:先进的控制技术保障了空压机的长期可靠运行
- 维护成本低:无轴承电机设计最大限度减少了停机时间与维护成本
随着各行业对效率、节能及智能自动化的需求不断提升,USFULL 变频器将在空压机领域持续发挥重要作用,为全球客户提供更优质的变频调速(VSD)解决方案!
USFULL 专注于变频驱动器(VFD)、太阳能水泵变频器及其他工业自动化解决方案的研发与生产。如需了解更多产品信息,欢迎随时与我们联系!


